It’s no secret that featured snippets are powerful. Every SEO professional (including yours truly) aims to own any available featured snippets for their content.
These expanded, descriptive search results appear as a special box prominently displayed at or near the top of the search results page (SERP). Optimizing for featured snippets (FS) can help Google better understand when your page is the best answer for a relevant query with one of these search features available.
In this column, you’ll find my tried and tested strategy for optimizing for featured snippets (including examples), my curated content calendar template for featured snippets (which you can copy and use), and FAQs to clear up any remaining questions about FS. You’ll learn:
- What are featured snippets?
- 4 types of featured snippets you can target.
- A 12-step process for optimizing for featured snippets.
- What’s new in featured snippets?
- FAQs for featured snippets.
Let’s get started.
What Are Featured Snippets?
Featured Snippets are the expanded snippets that appear on the first position of the Google SERPs. The purpose of the Google featured snippets is to answer the user’s need right there in the search results.
Here is Google’s definition:
Featured snippets are special boxes where the format of a regular search result is reversed, showing the descriptive snippet first.
Developers.Google.Com
Users wishing to read the complete content can click on the URL of the featured snippet.
When Google launched featured snippets, some sites were able to achieve two results on page 1 of the SERPs, which initially drove dramatic improvements in organic visibility and traffic.
But as with all things SEO, happy days never last forever; see this tweet from Danny Sullivan:
4 Types of Featured Snippets You Can Target:
When looking to optimize for featured snippets, you need to understand the types of featured snippets available.
1. Paragraph Featured Snippets
Seventy percent of featured snippets are the paragraph type, with an average of around 42 words and 250 characters.

Most of these featured snippet titles start with “What” or “Why,” indicating that they are largely informational in nature.
Pro Tip: Most of the “What” question keywords have the highest search volume, but you have to find out the question keywords with low Keyword Difficulty (KD) score to win them.
2. Listicle Featured Snippets
An average of 19% of featured snippets are of Listicle type, consisting of an average of 6 items and 44 words.
You’ll find two kinds of listicle featured snippets: ordered and unordered lists.
Ordered List

Unordered List

Pro Tip: Listicle featured snippets are derived from “How” and “Why” keyword terms. If you’re looking to get featured snippets faster, they’re your go-to topics.
3. Table Featured Snippets
Around 6.3% of featured snippets are of the Table type. They have an average of five rows and two columns with 40 to 45 words.

Pro Tip: To optimize for this type of featured snippet, mark up relevant content in a table format using the table tags in HTML. Some are tempted to make graphics for tables, but then you’re missing out on this opportunity.
4. Video Featured Snippets
Only 4.6% of featured snippets are of the video type, the average one being 6 minutes and 35 seconds in length.

Pro Tip: If your audience heavily consumes video content, a video featured snippet is your way to success. Look for the keywords with low search volume and tada! You’ve got them.
How to Optimize for Google’s Featured Snippets?
Whenever you see a competitor ranking on featured snippets, you should have this one question in mind:
How do I steal that featured snippets and get one for my website?
Here’s how to get started.
1. Identify Competitors’ Featured Snippets
Stealing competitors’ featured snippets is not easy.
Put the competitors’ URL in Semrush and look for the keyword groups that own featured snippets.

Now, you want to:
- Export the list.
- Categorize them into different types of featured snippets.
- Sort them by higher search volume.
- Highlight the low KD score.
- And gather them to initiate planning.
Copy this content calendar template to start planning, implementing, and optimizing your content to rank.

2. Gather the Keywords for Each FS-Owned Content
Once you’re done with finalizing the content topics, it’s time to identify the keywords present on the content currently owning featured snippets.
Click on the down arrow in Semrush beside the selected keyword to see the expanded information on the keywords ranking on featured snippets.

3. Understand Searcher Intent
One of the most important considerations in optimizing for featured snippets is understanding the search intent behind each triggering query.
Three types of people search for your keywords:
- Potential customers.
- Influencers who persuade your potential customers to buy from you.
- And your competitors.
You’re going to write the content for the first two. Each will have different intents while searching, but it will always be informational (and navigational when users want to click through them).
Because there was only one search intent for a featured snippet, I thought to classify them further into four categories depending on whether they want:
- A specific answer.
- A brief answer.
- A comparison.
- A video
Get a Specific Answer
Here, a user search query is a question that requires a specific answer. This type of FS has a lower CTR as people come to get a specific answer and typically do not want or need to read further.
This type of FS can help in the brand building but is unlikely to drive a lot of traffic.

Get a Brief Answer
Here, the user expects a paragraph or listicle type of featured snippet as shown in the types section above. If users want to get more information, they’ll click on the results.
This type of search query assists in both CTR and brand reputation.
Get a Comparison
This type of search query comes up with a table type of featured snippet. The table content is larger than what Google Featured Snippets can show. So, this type of search intent is most likely to boost the CTR.
Get a Video
And lastly, if users are looking for “how-to” answers and a video attached to those answers, it will get the maximum CTR.
Understand the different types of informational search intent behind the search query. They are relevant to the type of featured snippets available, which can help you plan and optimize your content.
4. Run a Competitive Analysis
Go back to Semrush and open its SEO content template tool. Input your keyword or content topic, select the targeted location, and click on the green button.
You’ll get the below SEO recommendations for your content to plan the content optimization for featured snippets.
Your top 10 rivals for target keywords to let you understand whom you’re going to compete with.

- Key recommendations from them in terms of what your content must have, backlinks it shall acquire, readability it must have, and recommended text length to serve the user search intent and expectations.

- Suggestions on how they’re using target keywords so you can use them better.

- Basic SEO recommendations to make your content search-friendly.

5. Create/Update the Content Outline
By now, you have the content topics, their targeted keywords, type of featured snippet, its search intent, and a pool of SEO recommendations from competitors’ snippets.
If you’re writing new content, you need to create the content outline. And if you’ve already written the piece, you may need to revamp the outline as per the research gathered above.
6. Create Content Better Than the Competition’s
- Cover the basic information users expect in content based on the user search query and its intent.
- Add more value than competing blogs by including statistical data, rich media, examples, pointers, etc.
- Write in simple and shorter sentences to improve the readability of the content.
- Focus on research-based content over opinion-based. Citations help Google better understand your content.
You should always aim to create the best content — that is, content that delivers value for years, like the piece below.

7. Validate the Content
Once you have the content ready, double-check that it meets your needs for:
- Your target audience.
- Defined user search intent.
- Targeted keywords.
- Suggestions listed.
This check is vital to ensure you’re on the right track towards getting a featured snippet.
8. Organize Your Content for Readers & Search Engines
Well-organized content is easy to scan through, read, and understand for users and search engines.
Here’s an example of how you might organize a piece of content to give it good structure.

I recently tweeted about how you can turn a paragraph featured snippet into a listicle just by organizing and creating content accordingly.
9. Add Question Keywords in Heading Tags
Organizing your content to get featured snippets is incomplete without adding question keywords to the heading tags.
Pick up the relevant question keywords with high search volume and put them in your heading tags. Most of the featured snippets you see on Google start right after a heading tag.
Look at an example below:

The right question keyword phrase in the right place can make all the difference.
10. Add Relevant Graphics
Graphics play a crucial role in owning a featured snippet, especially for the paragraph and listicle-type featured snippets.
Try to use real-life pictures or custom-made graphics rather than stock images to improve the users’ experience and avoid appearing generic.
Add as many images as your content requires.

11. Implement SEO Tactics
Your content is ready for users. Now you need to help Google understand what the page is all about — and quickly.
Here are some SEO tactics that work for featured snippets:
- Perfect URL structure: Keep your URLs short, ideally three to four words.
- Title tag: Use Coschedule Headline Analyzer and the SEOmofo snippet optimization tool to create a catchy title tag that fits the pixel requirements.
- Meta description tag: Use SEOmofo to make the most of the pixels available and write user-centric and keyword-specific meta descriptions to drive the highest clicks.
- Heading tags: Use question keywords, as discussed above.
- Image Alt attributes: For all graphics, make sure you use descriptive alt text to help Google understand what the image is all about. Most of the best-performing content has images with alt attributes.
- Internal links: Help Google identify your site’s most important pages. If you achieve a featured snippet, you want to support the rankings of your best pages with it.
- External links: Let Google know which external sites you trust and demonstrate credibility with your citations.
- Schema markup tags: Help Google understand what your page is about and recognize elements like tables.
- Link building: Build links to help Google understand your website’s authoritativeness.
12. Keep Optimizing Your Content Until You Achieve a Featured Snippet
With this process of optimizing for featured snippets in place, I check the results at 7, 14, and 21 days.
If I see an improvement in impressions, I’ll work harder for clicks. Be sure to track the differences in impressions, rankings, and CTR in Google Search Console, and traffic and visibility in Semrush.
Keep on optimizing your content until you see a featured snippet and can track results from it, such as:

What’s New for Featured Snippets in 2022?
Recently, the SEO industry noticed two new features on Google Search results for featured snippets.
“Hear this out loud” Button
When you click on this button, the content is read aloud while the text is highlighted alongside.
“Also covered on this page” Section
This section appears below the main section of the featured snippet and picks up the heading tags that you’ve added to your page.

Now you have another reason to better organize your content using heading tags!
Frequently Asked Questions (FAQs) for Google Featured Snippets
Here are some of the most frequently asked featured snippets questions I get from SEO professionals.
Why Might Featured Snippets Be Removed?
Your featured snippet may get removed automatically or manually by Google if it comes under:
- Dangerous content.
- Deceptive practices.
- Harassing content.
- Hateful content.
- Manipulated media.
- Medical content.
- Sexually explicit content.
- Terrorist content.
- Violence and gore.
- Vulgar language and profanity.
- Content that contradicts with the content by experts in the fields of civic, medical, scientific, and historical.
If you fall astray of Google’s policies, you may lose the featured snippet. Of course, you might lose it if a competitor does a better job of answering that query, too.
Are Featured Snippets Available for Ecommerce Products or Category Pages?
No. Ecommerce products can get featured listings on Google SERPs using Google Shopping and Product Listing Ads (PLAs).
However, eCommerce websites can still own featured snippets for their guides and blogs.
Featured Snippets vs. Rich Snippets: What’s the Difference?
Featured snippets are picked up from the web page’s content to answer a user query, while rich snippets are an enhanced organic search result.
If your search result has reviews attached to it, that’s a rich snippet. If your web page provides information to users in a bit more detailed way on the first position on SERPs, it’s a featured snippet.
Learn more about optimizing for rich snippets here.
How Do Featured Snippets Work?
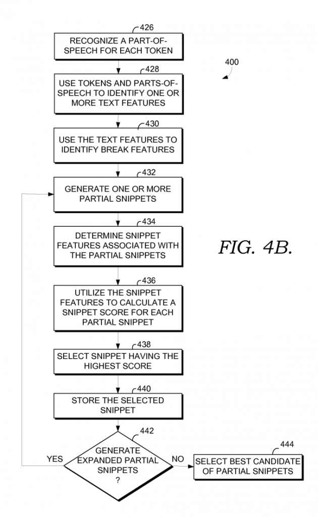
To understand how featured snippets work, let’s break down Google’s patent on generating snippets based on content:


When Google receives a search query, it tries to find the best result to match it. And when Google is ready with the list of search results, it follows the below process to pick up the relevant featured snippet from the top 10 search results:
- Identifying the text features within a keyword-based sentence to check its eligibility to rank as an FS.
- Determining the break features that would indicate the place where the keyword-based sentence can be truncated on a featured snippet.
- Calculating and assigning the snippet score to identify the strength of the snippets.
- Select the snippet with the highest snippet score.
That’s how Google selects a website for featured snippets and works to provide the relevant information quickly to the users.
Go, Get Your Featured Snippets Now!
Google’s featured snippet format focuses on providing information to the users on its platform itself. However, not all information can be displayed in 40-45 words.
Hence, they can be a great tool to boost your organic traffic.
Use the above guide to own featured snippets and become a thought leader in your industry, giving your brand reputation and organic traffic a boost. If you’ve optimized your site well, conversions will follow!
All screenshots were taken by the author in June 2021
Dominate the SERPs with our Content Optimization Services. Just fill in this form and we will give a 30-minute consultation for free.




